Le spécialiste de l'outil de coupe
OK
Compte
Votre panier
0
0,00 €
ACCUEIL
Boutique
Filetage
Attachements
Forets
Outils de tour
Plaquettes
Alésoirs
Divers
Fraises
Déstockage
Catalogues
Nos marques
Témoignages
Blog
Contact
Continuer les achats
Boutique
>
Outils de tour
>
Outils carbure brasés CW
>
Outil à aléser - ISO 308
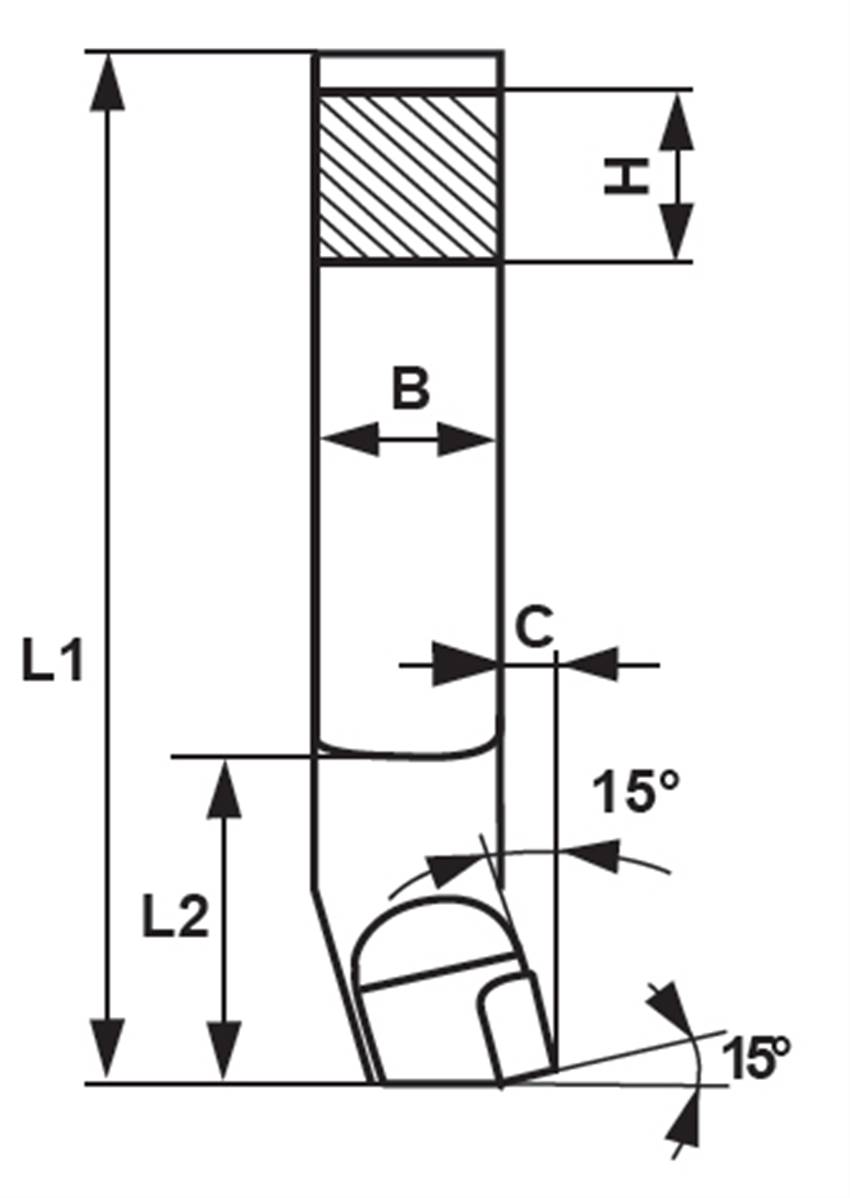
Outils de tour à aléser à droite ISO 308 - DIN 4973 KX2 carré de 8
SERMA
(Code: 308R0808KX2)
Outils de tour à aléser à droite ISO 308 - DIN 4973 KX2 carré de 8
12,50 €
35g
-
+
Ajouter au Panier
Paiement sécurisé
Cb, Paypal
Livraison
Mondial relais, la poste, dpd
Service client
03 27 30 12 31
7j/7 Conseils et commande
Outils de tour à aléser à droite ISO 308 - DIN 4973 KX2 carré de 8